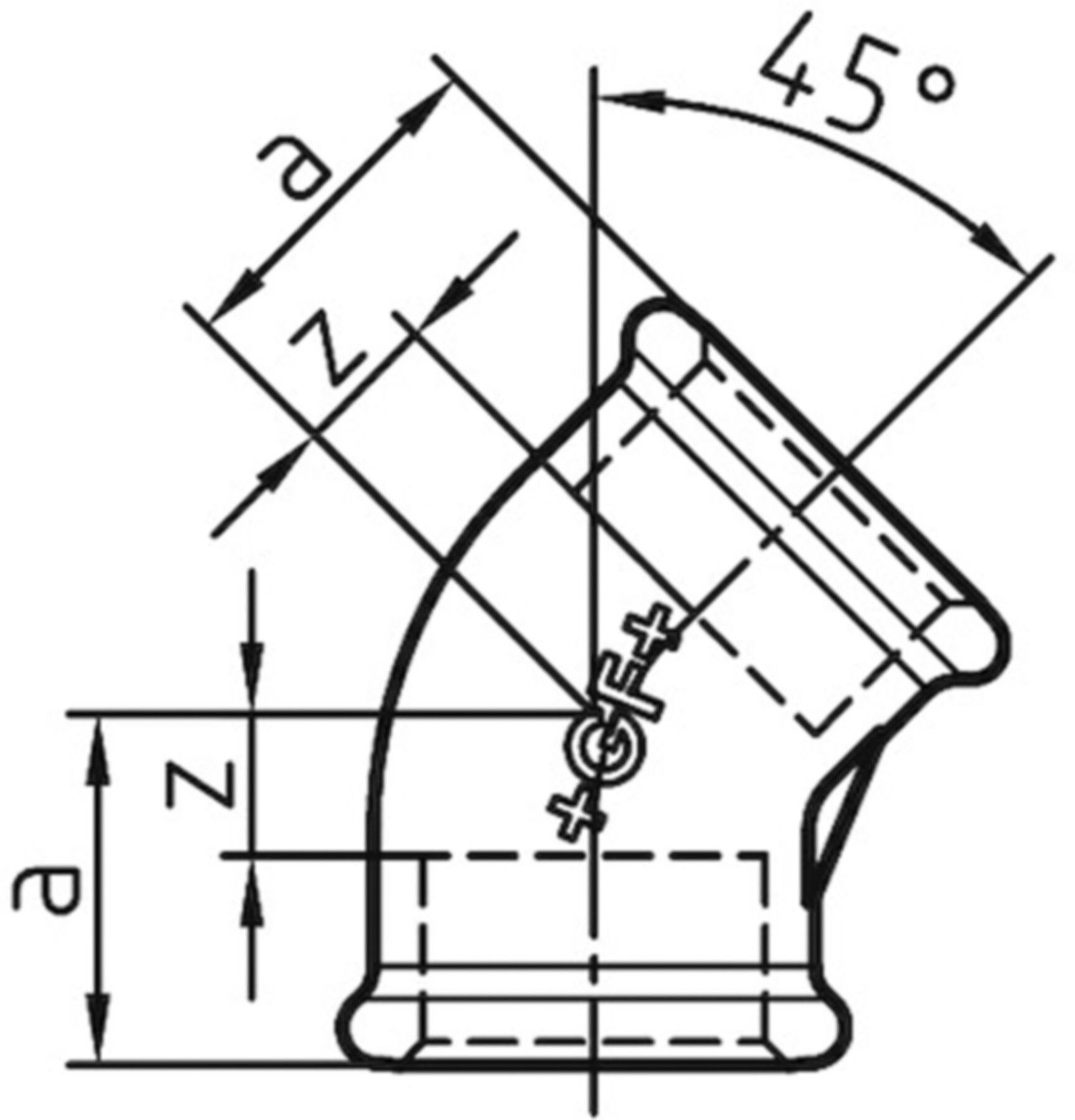
Winkel 45° 120 V 11/4" 770 120 207
GF verz. Tempergussfittings

Bitte melden Sie sich an um den Warenkorb nutzen zu können und anschliessend Bestellungen abschliessen zu können.

Anmelden
Artikel-Nr:2061057

Beschreibung

- Verzinkt, ISO/EN A1/45°

Spezifikationen

Winkel (°)
45
Typ
120
Dim. (Zoll)
1 1/4
a (mm)
33
z (mm)
14
Gewicht
0.242 kg / STK
Um Ihnen in unserem eShop den bestmöglichen Service zu gewährleisten verwenden wir Cookies. Erfahren Sie mehr über die Cookie-Nutzung