RMA Hauseinführung für Wasser PN 16 HEW Typ F V4A d 90mm / DN 80
Wild Gebäudeeinführung

Bitte melden Sie sich an um den Warenkorb nutzen zu können und anschliessend Bestellungen abschliessen zu können.

Anmelden
Artikel-Nr:3158783NPK-Nr:711.326

Beschreibung

- HDPE-Anschluss und Flansch aus Edelstahl, starr
- Medienrohr aus Edelstahl bis zur Aussenseite
- Schweissende aus PE MRS100 S5 / SDR11
- Mehrfache Muffen- oder Spiegelschweissung möglich
- Ab DN 150 ist eine spannungsfreie Montage erforderlich
Grössere Dimensionen kurzfristig lieferbar

mit HDPE-Anschluss und Flansch aus Edelstahl

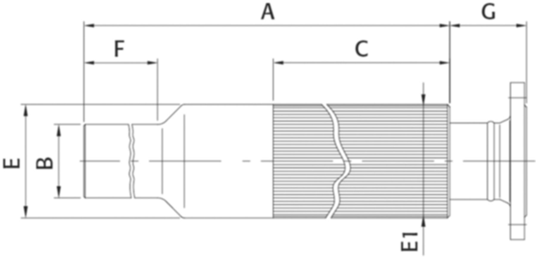
Spezifikationen

DN
80
Ø d (mm)
90
PN (bar)
16
A (mm)
855
C (mm)
500
E (mm)
145
E1 (mm)
145
F (mm)
155
G (mm)
115
Gewicht
21 kg / STK

Zuletzt besuchte Artikel

Um Ihnen in unserem eShop den bestmöglichen Service zu gewährleisten verwenden wir Cookies. Erfahren Sie mehr über die Cookie-Nutzung