Druckanbohrarmatur Top-Loading DAA-TL d 250-315(400)/63mm 615 339
Frialen Elektroschweissfittinge

Bitte melden Sie sich an um den Warenkorb nutzen zu können und anschliessend Bestellungen abschliessen zu können.

Anmelden
Artikel-Nr:3141366

Beschreibung

- Top-Loading mit extra langem Abgangsstutzen, PE100 S-5 SDR 11
- Verarbeitung mit der FRIALEN-Aufspannvorrichtung FRIATOP
- Maximal zulässiger Betriebsdruck 16 bar (Wasser) 5 bar (Gas)

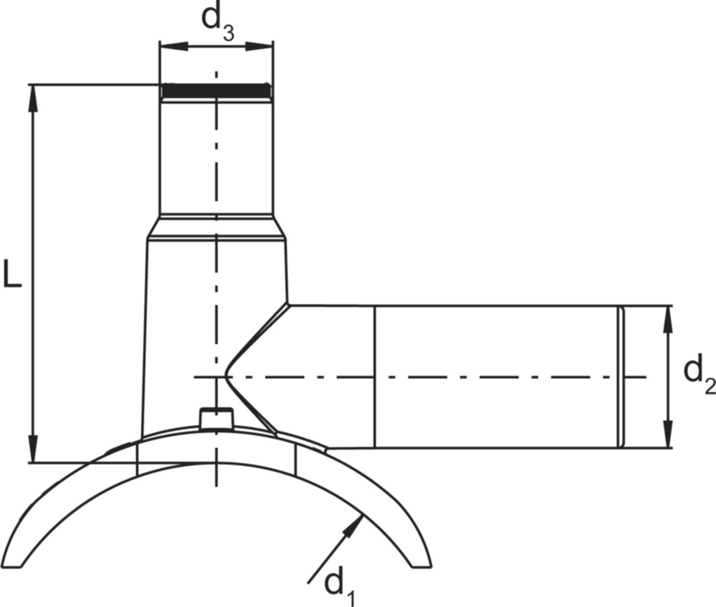
Spezifikationen

d1 (mm)
205-315 (400)
d2 (mm)
63
d3 (mm)
50
Ø da (mm)
30
L (mm)
167
Gewicht
1.36 kg / STK

Zuletzt besuchte Artikel

Um Ihnen in unserem eShop den bestmöglichen Service zu gewährleisten verwenden wir Cookies. Erfahren Sie mehr über die Cookie-Nutzung