COOL-FIT Übergang mit IG 40x11/4" PE / Messing 738 954 009
GF COOL-FIT 2.0

Bitte melden Sie sich an um den Warenkorb nutzen zu können und anschliessend Bestellungen abschliessen zu können.

Anmelden
Artikel-Nr:3198224
Georg Fischer Rohrleitungssysteme (Schweiz) AG

Beschreibung

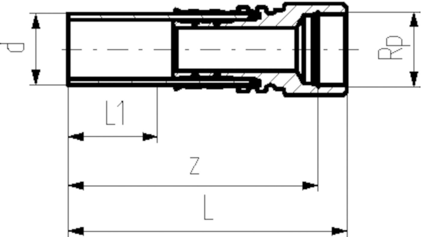
- PE / Messing mit Innengewinde Rp
- Stutzenfitting PE100 SDR11/PN16, metrisch mit freiem Ende
- Messing CuZn40Pb2 mit Innengewinde Rp
- Dichtung: O-Ring EPDM
- Inklusive Isolation aus NBR Schaum

Spezifikationen

d (mm)
40
IG (Rp) (Zoll)
1 1/4
DN
32
PN (bar)
16
SDR
11
D (mm)
78
L (mm)
157
L1 (mm)
40
z (mm)
141
Gewicht
0.67 kg / STK

Zuletzt besuchte Artikel

Um Ihnen in unserem eShop den bestmöglichen Service zu gewährleisten verwenden wir Cookies. Erfahren Sie mehr über die Cookie-Nutzung