6-kt Mu ~0,8d INOX A4 BN629 DIN934 M8
Bossard Schrauben

Bitte melden Sie sich an um den Warenkorb nutzen zu können und anschliessend Bestellungen abschliessen zu können.

Anmelden
Artikel-Nr:2035677

Beschreibung

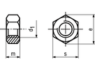
M 8 Sechskantmuttern ~0,8d INOX A4 BN 629; KG 11 ; Norm1: DIN 934 ; Norm2: ~ISO 4032 ; Norm3: ; Norm4: ~UNI 5588; Qualität ; Farbe: ; Oberfläche: ; zus. Unterscheidung: INOX A4

Spezifikationen

d1 (mm)
M8
e min. (mm)
14,38
s (mm)
13
m max. (mm)
6,5
Verpackung
1 Pkt = 100 STK
Gewicht
0.52 kg / Pkt

Zuletzt besuchte Artikel

Um Ihnen in unserem eShop den bestmöglichen Service zu gewährleisten verwenden wir Cookies. Erfahren Sie mehr über die Cookie-Nutzung